Paletové vidle MBACR převěšované

Závěs na palety  s manuálním převěšením. Robustní konstrukce. Výška nákladu až do 160 cm. Rozpětí mezi vidlicemi lze korigovat až do šířky 160 cm. Ideální pro malé vozy a mobilní jeřáby. Splňuje všechny bezpečnostní a pracovní normy. Atest dle platných předpisů EU.
Vybrať variantu
Tovar je skladem

811 €
981 € s DPH

864 €
1 046 € s DPH

922 €
1 116 € s DPH

988 €
1 196 € s DPH
rýchle dodanie väčšina produktov skladom

Paletové vidle model MBACR - s převěšením. Převěšení probíhá manuálně pomocí závěsného oka, které je možné umístit do několika pozic v hřebenu. Přední a zadní poloha je pro naložení a vyložení. Větší počet zubů umožňuje bez problému nakládat malé i vysoké hmotnosti až do povolené nosnosti nákladu. Vidle lze sklopit lyžinami k sobě a tím ušetřit místo na autě. Délka vidlic 100 cm.

Závěs na palety MBACR je možný dodat ve variantě s výškou nákladu do 130 cm nebo 160 cm.

Paletové vidle především pro malé vozy a mobilní jeřáby. Rozpětí mezi vidlicemi lze jednoduše korigovat pomocí otočné hřídele. Závěs na palety je možný použit na jeřáb, HR, mostový jeřáb apod. Kvalitní zpracování.

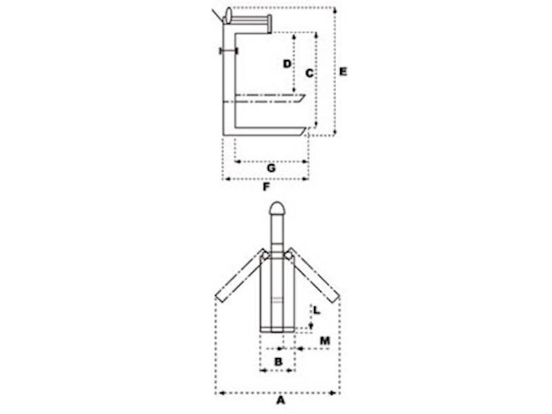
MODELNosnost(kg)Rozměry (mm)Hmotnost (kg)
ABC*DEFGLM
MBACR-1515001600340130011001800108010003090130
MBACR-20200016003401300110018001080100035100146
MBACR-15-16015001600340160014002100108010003090140
MBACR-20-160200016003401600140021001080100035100156